污泥回流泵-南京蘭江泵業有限公司
      1. <address></address>
        <tr><dfn id="okv5_r0bzqv_ynfdska"><label id="0o73_tmt632_n3qydx1"></label></dfn></tr>

        産品列表PRODUCTS LIST

        污泥回流泵

        簡要描述:

        污泥回流泵/硝化夜回流泵/污泥回流比/作用是在德國潛水👀電機生産技術基礎上自行研發的 産品♌️,該泵爲二級污水處理廠混合液回流、反硝化脫氮😸的 設備🛀🏼。亦可用于地面排水、灌溉和廢水處理 過程中再循環等需要微揚程、大流量的 場所。

        分享到: 1
        在線留言
        污泥回流泵

        産品使用範圍:


        QJB-W型硝化液回流泵、污泥回流泵是南京蘭江水處理設備有限公🧛🏽司在潛水攪拌機生産技術基礎上開發的✍🏻新型産品👼🏾,該泵~爲二級污水處理廠混合液回👽流、反硝化脫氮的設備,亦可以用于地👻面排水時抽淨化水;灌溉和控制水道系統;廢水處理過程中再😺循環或泥漿抽吸回路中需要微揚程、大流量場所👧🏾。


        使用條件:


        1、連續運行時,介質溫度不高于40℃;
        2、介質PH值爲6-9。
        3、大潛沒深度10m。


        型号表示方法:



        結構簡介:


        專門設計的裝置部件和設備備件使污泥回流泵達到🥑️佳性😁能。
        1、電纜:電纜采用特制水密電纜;
        2、接線盒:接線盒是全封閉的,與周圍液體和定子箱是隔離的;
        3、電機:50Hz鼠籠式3相潛水異步電動機,F級絕緣,防護等級IP68。電😁機由👨‍🦰周圍㊙️介質冷卻;
        4、軸:電動機的軸采用不鏽鋼材料制作,轉子作動平衡試驗;
        5、密封:靜密封爲O型密封圈。軸密封爲機械密封,将油室與周圍介質隔離;
        6、軸承:采用軸承,設計使用壽命可達100,000小時以上;
        7、油室:油用于潤滑和冷卻機械密封摩擦副,并隔離滲透液;
        8、葉輪:葉輪有三枚葉片,葉片寬而薄,表面光滑呈後掠👌式,高效⛹🏻‍♀️、無阻運轉,且具有自清功能;
        9、錐管:錐管的目的是爲了形成好的流動狀态;
        10、排出接頭:排出接頭用于将錐管固定在出水管上;
        11、引導裝置:引導裝置由兩根管子(導管)和上方導管👩🏿‍❤️‍💋‍👨🏽夾具所組成。


        産品特點:


        1、按低揚程、大流量專門設計,效率高;
        2、抗堵塞、纏繞,使用可靠;
        3、采用新的密封材料,可以安全連續運行10000小時以上;
        4、結構緊湊,安裝維修方便;
        5、主機采用沖壓成形結構,體積小,精度高,耐腐蝕無🧜🏼‍♀️噪音🧑🏽‍❤️‍💋‍🧑🏻;
        6、内設漏電漏水及電機過載保護(報警)裝置,确保産品👩‍🍼安🙉全與可靠。


        主要性能參數:



        性能曲線:



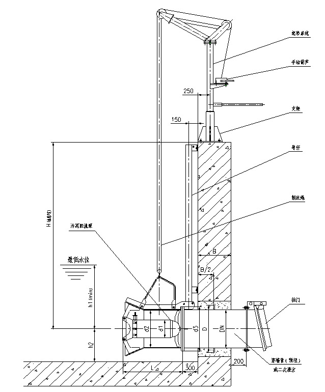
        安裝:


        1. 正确安裝使用是該泵能長久、正常運轉的基本保😸證。
        2. 采用自動耦合安裝系統,不用任何機械拆卸便可迅~速提升設備進行檢查和維護,安裝方便快捷。
        3. 本設備除穿牆管需要預埋外,導杆、起吊架均用鋼…膨🧜🏼‍♀️脹螺栓🤶🏾與池體連接,不需要預埋件。
        4. 預埋件和拍門由用戶采購安裝,用戶定購時應該注🧛🏾‍♀️意。


        産品安裝尺寸:



        安裝示意圖:


        選型詢價

        需提供功率多少?流量、揚程是多少?要不要穿牆管和拍門?材質🏊🏿‍♀️要求?

        在污水處理過程中,該工藝采用A2+o2 + 生物處理法,請問硝化液回流ˇ泵的主要作用是什麽

        聯系人
        在線客服
        掃碼關注我們
        用心服務 成就你我
            1. <address></address>
              <tr><dfn id="okv5_r0bzqv_ynfdska"><label id="0o73_tmt632_n3qydx1"></label></dfn></tr>