QXB型離心式潛水曝氣機特點
點擊次數:3186 更新時間:2013-06-19
hbzhan内容導讀:QXB型離心式潛水曝氣機用于污水處理廠曝氣池、曝氣沉砂池,對污水污泥的💕混合液進行充氧及混合,以及對污水進行生化處理或養殖塘👩🏽🐰👩🏿增氧。
原理:
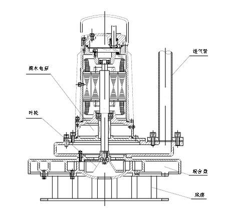
QXB型離心式潛水曝氣機爲直聯式結構。旋轉的葉輪在😥水中産👻生一個離心力,通過離心力在葉輪周圍👽形成一個負壓區,空氣通過進氣管被吸入,被吸入的空氣和水在混合盤内混合🧑🏽❤️💋🧑🏻,随後這種良好的均勻的混合物自動從排出口排出。
此過程包括以下幾個方面:混合盤中的空氣與水混合産生氣液混合效應,出口排出的氣液混合液形成循環和對流;大量空氣分子中的氧氣高速運動獲得一個*的氧氣吸收效率♌️。
特點:
1較高的氧氣溶解率,微小氣泡所占比率大,充氧效率高且充氧面積寬;
2池中無死區,夾帶氣泡的水平曝氣流能*沖刷池底的每個角落;
3結構簡單、緊湊、機組壽命長,能承受大負荷的軸承,采~用油浴的💘轉軸密封和吸入葉輪腔的空氣防止工作時水與密封件接觸,這些都保證曝氣機在24小時連續工作,長期*運行;
4節省工程投資,無需提供氣源,省去鼓風機,安裝方便,噪音小💘;
結構示意圖